大傾角帶式輸送機(以下簡稱“大傾角”)具有通用帶式輸送機結構簡單、運行可靠,維修方便等優點,具有可大傾角(90度垂直)輸送、結構緊湊、占地少等特點,因而是大傾角(或垂直)輸送的理想設備。廣泛用于煤炭、冶金、建筑、糧食、化工、電力等部門。通過多年的不懈努力,大傾角皮帶機提升高度(高已達203m)、大輸送能力(大已達6000t/h),在井下采礦工程、露天采礦、大型自卸船等方而都有所采用,并在國內首創用于鋼廠的高爐上料產生了良好的經濟效益。

◆ 該機為一般用途的散狀物料連續輸送設備,采用的是具有波狀擋邊和橫隔板的輸送帶。因此,特別適用于大傾角輸送。
◆ 該機可用于煤炭、化工、建材、冶金、電力、輕工、糧食、港口、船舶等行業,在工作環境溫1` 度為-15℃-+40℃的范圍內輸送堆積比重為0.5-2.5t/m3的各種散狀物料。
◆ 對于輸送有特殊要求的物料,如:高溫、具有酸、堿、油類物質或有機溶劑等成份的物料,需采用特殊的輸送帶。
◆ 輸送傾角0°-90°范圍內。
◆ 用大傾角輸送散狀物料,能大量節省設備占地面積,徹底解決普通、花紋帶式輸送機所不能達到的輸送角度。
◆ 機械化帶式輸送機輸送物料,總體投資費用低,可節約投資費用的20%-30%,建材、煤炭行業效果更好。
◆ 該機型與普通式輸送機、斗式提升機、刮板輸送機比較,其綜合技術性能都優越。
◆ 輸送量大,可達6000m3/h,垂直提升高度可達200m。
◆ 在垂直輸送物料時,物料粒度大可達200mm。
◆ 膠帶強度高,使用壽命長。



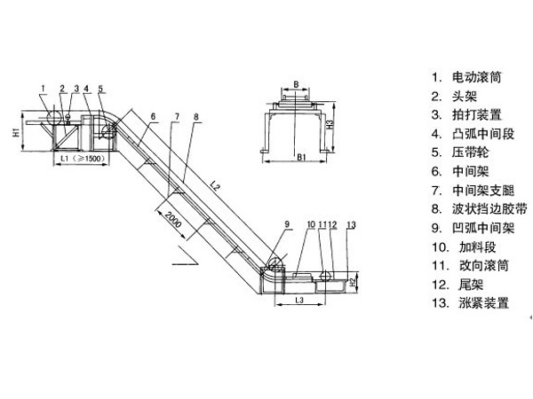
大傾角帶式輸送機輸送傾角,采用滾筒電機集中驅動,由:電動滾筒、頭架、拍打裝置、凸弧中間段、壓帶輪、中間架、中間架支腿、波狀擋邊膠帶、凹弧中間架、加料段、改向滾筒、尾架、漲緊裝置。其結構見圖下圖


篩分設備生產經驗,在海內外積累了豐富的實踐經驗,工藝和技術成熟,深受廣大客戶的喜愛。
版權所有 Copyright ? 2025 新鄉市三圓堂機械有限公司 豫ICP備13017345號-5 網站地圖